-
Posts
13299 -
Joined
-
Last visited
-
Days Won
116
Content Type
Profiles
Forums
Events
Everything posted by Stan Marsh
-
Проект комплекта начинающего: УНЧ+АС
Stan Marsh replied to Stan Marsh's topic in Общие проекты на этапе конструирования
Работы привалило. Но пара наших кружковцев уже на финальной стадии сборки усилителя. Кстати, тоже остановились на SRPP с 6Н2П. Но оконечный каскад на 6П1П. -
Усилитель с прямой связью и катодным повторителем - Рэймонд Х. Бейтс
Stan Marsh replied to Stan Marsh's topic in Valve
-
Усилитель с прямой связью и катодным повторителем - Рэймонд Х. Бейтс
Stan Marsh replied to Stan Marsh's topic in Valve
Если кому вдруг интересно, старина Малинин считает, что в примерно таком режиме похожая 6Ж8 даёт амплитуду 140В, и имеет Кус практически 100. -
Усилитель с прямой связью и катодным повторителем - Рэймонд Х. Бейтс
Stan Marsh replied to Stan Marsh's topic in Valve
-
Усилитель с прямой связью и катодным повторителем - Рэймонд Х. Бейтс
Stan Marsh replied to Stan Marsh's topic in Valve
В конце выяснится, что автор не наврал, но осадочек уже никуда не денется. -
Усилитель с прямой связью и катодным повторителем - Рэймонд Х. Бейтс
Stan Marsh replied to Stan Marsh's topic in Valve
Я бы не торопился. -
Усилитель с прямой связью и катодным повторителем - Рэймонд Х. Бейтс
Stan Marsh replied to Stan Marsh's topic in Valve
То есть всё плохо? Американец наврал про четыре с полтиной ватта? -
Усилитель с прямой связью и катодным повторителем - Рэймонд Х. Бейтс
Stan Marsh replied to Stan Marsh's topic in Valve
Никак не могу отделаться от ассоциации автора с сериалом "Bates Motel". Отличный сериал, кстати. Там даже Рианна не прбрезговала сняться в эпизоде. -
Усилитель с прямой связью и катодным повторителем - Рэймонд Х. Бейтс
Stan Marsh replied to Stan Marsh's topic in Valve
Во-во. -
Усилитель с прямой связью и катодным повторителем - Рэймонд Х. Бейтс
Stan Marsh replied to Stan Marsh's topic in Valve
Я с бооольшим подозрением отношусь к симуляторам. -
Усилитель с прямой связью и катодным повторителем - Рэймонд Х. Бейтс
Stan Marsh replied to Stan Marsh's topic in Valve
-
Усилитель с прямой связью и катодным повторителем - Рэймонд Х. Бейтс
Stan Marsh replied to Stan Marsh's topic in Valve
Всё есть кроме времени. Но буду стараться и его найти. Или найти того, кто проделает этот эксперимент за меня. -
Усилитель с прямой связью и катодным повторителем - Рэймонд Х. Бейтс
Stan Marsh replied to Stan Marsh's topic in Valve
Чувствую, придётся-таки запилить проект в железе. Пятикилоомные ТВЗ есть, правда с активным 330 Ом, но, думаю, это не очень страшно. Силовик тоже не проблема, осталось выкроить время. -
Усилитель с прямой связью и катодным повторителем - Рэймонд Х. Бейтс
Stan Marsh replied to Stan Marsh's topic in Valve
Тем более. Что-то я сомневаюсь, что статья так ошибается. -
Усилитель с прямой связью и катодным повторителем - Рэймонд Х. Бейтс
Stan Marsh replied to Stan Marsh's topic in Valve
Тогда, если мы имеем в виду КП, нам нужно на вход подавать сигнал в полторы сотни вольт, а никак не 11,5. Либо американец врëт, либо одно из двух.© -
Усилитель с прямой связью и катодным повторителем - Рэймонд Х. Бейтс
Stan Marsh replied to Stan Marsh's topic in Valve
Думаю, придётся повторить и померить. Хотя, можно просимулировать. Один к одному я подобное не собирал, но в триодном включении ватта полтора, не более. -
SE или PP на 6П3С для неофитов и не только
Stan Marsh replied to Stan Marsh's topic in Общие проекты на этапе конструирования
-
Усилитель с прямой связью и катодным повторителем - Рэймонд Х. Бейтс
Stan Marsh replied to Stan Marsh's topic in Valve
Я тоже, давно. Думаю, вернуться к этой схеме. -
Усилитель с прямой связью и катодным повторителем - Рэймонд Х. Бейтс
Stan Marsh replied to Stan Marsh's topic in Valve
-
Усилитель с прямой связью и катодным повторителем - Рэймонд Х. Бейтс
Stan Marsh replied to Stan Marsh's topic in Valve
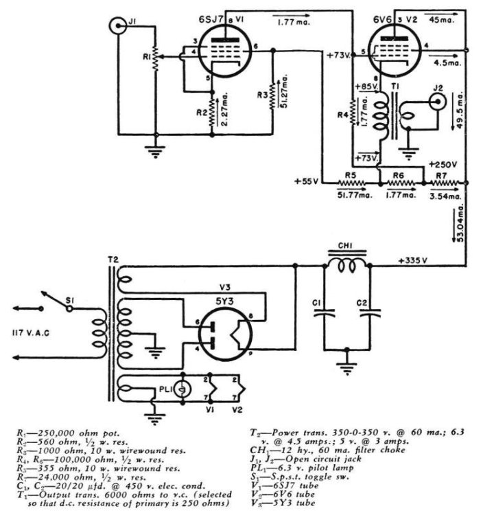
Есть две особенности, которые обеспечивают этому усилителю превосходные характеристики. Один из них — прямая связь между пластиной 6SJ7 и сеткой 6V6. Другой — выход катодного повторителя 6V6. Помимо своей простоты, прямая связь устраняет нежелательные характеристики, присущие обычной резистивно-емкостной связи, такие как короткое замыкание слабых сигналов и блокировка сетки сильных сигналов. Выход катодного повторителя, помимо своей простоты, обеспечивает улучшенную характеристику высоких и низких частот, демпфирование всех пиков как в выходном трансформаторе, так и в динамике, меньшие искажения и 100-процентную дегенеративную обратную связь. Для определения номиналов цепей на схеме бесплатно использовались инструкции по эксплуатации ламп и законы Кирхгофа и Ома. Начиная с традиционного выходного каскада, в руководствах к лампам указано, что для однокаскадного выхода, скорее всего, выходными лампами будут 6L6, 6V6, 6F6 или 6K6. Модель 6V6 была выбрана из-за ее доступности и относительно низкого процента гармонических искажений. 6SJ7 был выбран главным образом из-за его высокого усиления и низкого процента искажений. Чтобы снизить требования к питанию, я выбрал силовой трансформатор на 350 В с центральным отводом и током 120 мА (требуется только 53 мА), который легко доступен по умеренной цене. Учитывая падение напряжения 15 В на дросселе фильтра и падение 250 В от пластины до катода 6V6, на катоде 6V6 можно получить 85 В. Поскольку в схеме с прямой связью смещение сетки, в данном случае 12,5 В, получается за счет разности напряжений между катодом и сеткой, то на сетке 6V6 (и на обкладке 6SJ7) требуется примерно 73 Вольта, поскольку эти два трубчатых элемента соединены непосредственно друг с другом). При 73 В на пластине и 55 В на экране 6SJ7 можно получить усиление напряжения 115 при искажениях всего лишь 0,8 процента. Это означает, что сигнал 0,1 В на сетке 6SJ7 обеспечит сигнал 11,5 В на сетке 6V6, что считается достаточным. В соответствии с законом Кирхгофа на схеме указано распределение напряжения и тока по цепи. Обратите внимание, что на сопротивлении постоянного тока первичной обмотки выходного трансформатора наблюдается падение напряжения 12,5 В, которое, по измерениям, составляет примерно 250 Ом. Выход катодного повторителя получается просто путем подключения трансформатора к катоду 6V6 и соединения пластины и экрана 6V6 вместе с источником питания «B plus», как показано. Выходная мощность усилителя составляет примерно 4,5 Вт. Хотя эта цифра может показаться низкой тем, кто привык иметь дело с усилителями мощностью 20 и более Вт, для домашнего использования при использовании эффективной акустической системы ее вполне достаточно. Испытания, проведенные различными организациями, показали, что для прослушивания в обычной домашней гостиной обычно используется мощность менее одного ватта. Единственная причина обеспечить большую мощность — это учесть пиковые пассажи, которые встречаются в некоторых классических композициях. Входная чувствительность такова, что даже высококачественные кристаллические звукосниматели с низким выходом обеспечат достаточный драйв. Не было предусмотрено использование звукоснимателей с переменным сопротивлением, хотя нет причин, по которым такие устройства нельзя было бы использовать, если бы был добавлен каскад предварительного усилителя. В различных выпусках этого журнала было описано множество удовлетворительных предусилителей. Если для магнитных датчиков используется предусилитель, следует проявлять особую осторожность при экранировании и размещении деталей, чтобы избежать возникновения фонового шума. Тщательный выбор лампы, используемой в предусилителе, существенно поможет снизить шум. В блоке питания имеется достаточный запас мощности, чтобы без проблем обеспечить работу практически любого типа предусилителя. Никаких средств регулировки тембра не предусмотрено, хотя их можно было бы добавить без особых затруднений. Существует много споров относительно лучшего типа регулятора тембра, и считалось, что их можно будет добавить позже, когда наиболее удовлетворительный тип будет определен экспериментальным путем. Очень важно, чтобы первичная обмотка выходного трансформатора Т1 имела сопротивление примерно 250 Ом, поскольку сопротивление этой обмотки определяет смещение сетки для 6V6. Достаточно будет проверить различные типы трансформаторов на прилавках магазинов с помощью омметра. Первичное сопротивление этого трансформатора должно составлять от 5000 до 6000 Ом, причем большее значение дает немного меньшие искажения. Обмотку звуковой катушки следует выбирать в соответствии с используемым динамиком. Большинство лучших динамиков имеют импеданс около 8 Ом, и по этой причине его значение указано. Не обязательно, чтобы этот трансформатор был герметичного типа, но он должен быть хорошего качества, чтобы можно было реализовать все преимущества усилителя. Плохие трансформаторы обычно имеют дефекты АЧХ на верхних и нижних частотах. Блок питания, будучи традиционным, не нуждается в пояснениях. -
Две новые схемы в одном аудиоусилителе обеспечивают широкий частотный диапазон с минимальными искажениями. Создание усилителя, описываемого в этой статье, было начато чуть более двух лет назад, когда я стал страстным любителем звука. Во время недавней войны я был практически связан с радарами и так познакомился с катодным повторителем, который широко использовался в радарах в качестве недорогого средства для согласования высокого и низкого импеданса в каскадах усилителей напряжения. В то время мне казалось, что катодный повторитель может идеально подойти для выходных каскадов звука, где проблема получения хорошего согласования импеданса обычно сложна и обычно дорога. Помня об этом, я начал экспериментировать со всеми типами аудиоусилителей в поисках схемы, которая обеспечивала бы высокую производительность при минимуме деталей. Как я обнаружил, в предыдущих выпусках RADIO & TELEVISION NEWS оба усилителя с катодным повторителем и усилитель с прямой связью описывались как отдельные схемы. Мне не удалось найти ни одной статьи, описывающей аудиоусилитель как с прямой связью между каскадами, так и с выходом катодного повторителя. Итак, взяв в качестве исходного материала старые выпуски журнала «РАДИО И ТЕЛЕВИДЕНИЕ НОВОСТИ», я приступил к сборке этого усилителя. Как видно на принципиальной схеме, схема предельно проста.
-
"Если кит вдруг на слона налезет? Кто кого сборет? Отгадайте" . Кассиль Лев Абрамович
-
Фонокорректор тоже усиливает.
-
https://newaudioportal.com/topic/146-метод-двухточечного-заземления-susumu-sakuma/#comment-3297
-
SE или PP на 6П3С для неофитов и не только
Stan Marsh replied to Stan Marsh's topic in Общие проекты на этапе конструирования
Можно местную параллельную. Ту, что тут принято называть на японский манер.
