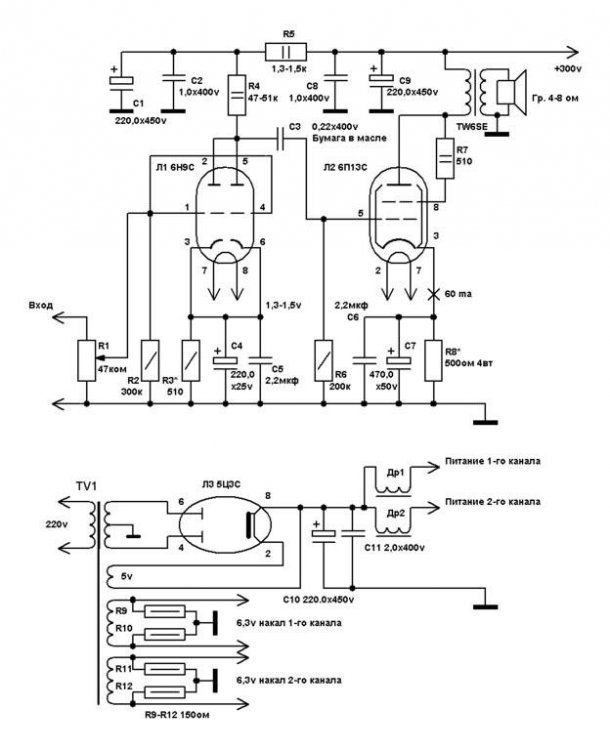
SE на 6Н9С+6П13С (Архив Аудиопортала)
-
Recently Browsing 0 members
- No registered users viewing this page.
-
Клубы
-
Радиорынок
Public Club
-
Hi-end по-русски
Open Club · 64 members
-
Сверхлинейность
Open Club · 12 members
-
Мастерская
Open Club · 11 members
-
ROCK-N-ROLL FOREVER!
Open Club · 9 members
-
Кружкин Дом
Open Club · 31 members
-
MASTER TUBER
Open Club · 7 members
-
Излишки тумбочки
Public Club
-
Радиолюбительские технологии
Open Club · 9 members
-
Магазин Иван Иваныча
Public Club
-
Джаз от SJ
Open Club · 24 members
-
Тестовый клуб
Open Club · 19 members
-
-
Сообщения
-
Хорошо, тогда такой вопрос. Есть у меня маленькие трансформаторы на 220В со старой техники для дежурного питания, с выходной обмоткой на 14В, типоразмер на выходной ток 50мА примерно. Возможно их использовать для формирования напряжения смещения со схемой умножения на 4 например, что бы получить на выходе нужные мне 60В? Токи ведь для смещения мизерные...
-
Группа, для которой этот аппарат делается, хорошая? Мрак правильный играет? Без иронии спрашиваю, сам поклонник всяческого мрака - Сепультура, Мардук, Тестамент, Металлика.
-
Как-то сомнительна прямая связь между уровнем сигнала и износом одной стороны канавки. Особенно если вспомнить, что стерео канавка модулирована в двух плоскостях. Не знаю, что такое "фозгометр", но сравнение уровня поканальных сигналов с картриджа ничего не дадут, просто потому, что даже лучшие ГЗС имеют разбаланс каналов минимум в 1 дБ, т.е. в 1,12 раза. Понятно, что настройка процесс итеративный и за один присест все параметры не оптимизировать. В теме по тестовым пластинкам рекомендовал для настройки всего и вся такой вариант: Из описания к тестовой пластинке: Общий эталонный уровень. Этот эталонный тон 1 кГц позволит вам установить «базовый уровень» для всех измерений. 1. Эталонный тон 1 кГц (моно). Базовый эталон для всех измерений, отрегулируйте индикатор для максимального удобства (в студии 0 VU). Отрегулируйте баланс каналов предусилителя для одинакового выходного сигнала. Также используется для проверки угла смещения фонокартриджа; сигналы L и R должны быть точно в фазе, как показано на осциллографе. Регулировка азимута. 2. Эталонный уровень 1 кГц (только левый). Измерьте выходной сигнал правого канала. 3. Эталонный уровень 1 кГц (только правый). Измерьте выходной сигнал левого канала. Цель состоит в том, чтобы расположить иглу строго перпендикулярно канавке. Поворачивайте картридж вокруг его радиальной оси до тех пор, пока измерения с дорожек 2 и 3 не станут равными или очень близкими друг к другу для обоих каналов. (т.е. при настройке азимута измеряются и сравниваются между собой не тестовые уровни сигналов, а уровни "паразитных" сигналов в соседних немых каналах) 9. Регулировка VTA Это тестовый сигнал IEC для измерения интермодуляционных искажений (IMD); 60 Гц и 4 кГц, соотношение 4:1. Используя тестер IMD, отрегулируйте VTA, поднимая или опуская тонарм для минимизации искажений. 1. Тест антискейтинга (315 Гц, развертка 0 дБ - +12 дБ). Сигнал должен оставаться чистым в обоих каналах до максимального уровня, как на слух, так и при просмотре на осциллографе. В случае искажений увеличьте или уменьшите силу антискейтинга до тех пор, пока искажения не будут происходить одинаково в обоих каналах. Информация о левом канале нанесена на внутреннюю стенку канавки, информация о правом канале — на внешнюю стенку канавки. Из-за угла смещения поворотного тонарма постоянно изменяющаяся векторная сила смещает тонарм к центру пластинки, в результате чего игла теряет контакт с внешней (т.е. правой) стенкой канавки. К факторам, влияющим на это, относятся линейная и модулированная скорость движения канавки, прижимная сила, профиль иглы и состав винила. Сила антискейтинга пытается компенсировать это, прикладывая противоположную аналогичную силу. Также принято считать, что общий вектор силы увеличивается по мере приближения тонарма к шпинделю или концу пластинки. 4. Опорный уровень 1 кГц (в противофазе) Этот сигнал в противофазе должен компенсироваться при суммировании в монорежим. Любые оставшиеся сигналы — это артефакты искажения, отсутствие баланса каналов или аномалии синхронизации (фазы). Этот тест может служить вторым подтверждением правильности настройки антискейтинга.
-
А у вас нет своего цапа , поэтому используете цап в этом предусилителе? Т,е сигнал проходит через какие то цап не аналогово?
-
от РЭС-47 РФ4.500.407-05.01 до РЭС-47 РФ4.500.407-09.02 один контакт - серебряный сплав, второй - золотой сплав.
-
Это лучше чем прожигать свою жизнь по кабакам и наркоманить. У человека есть стремление к творчеству.
-
Нормально всё, как говорят на вкус и цвет.
-
Передняя панель - лицо усилителя, формирует внешний вид аппаратуры на 50%. Поэтому я выработал для себя единый стиль передней панели всех своих усилителей. Форумчане спрашивали у меня в личке как создается такая панель как у меня. На старом АП я подробно рассказывал, но "вода утекла". Панель проектируется исходя из внешних размеров вашего устройства спереди. Я делаю панель больше на 2 мм со всех сторон чем внешний размер передней части усилителя. Раньше делал из листового алюминия толщ. 5-6мм (6мм лучше), просто через знакомого заказывал на заводе и мне за бутылку ***** фрезеровали и сверлили в размер. Но теперь знакомый ушел на пенсию. Поэтому в последний раз (Усь на 6П43П) я заказывал из 3мм нержавейки вырезанной на лазерной резке - получилось тоже очень хорошо. Панель крепится винтами М4 поэтому я сверлю отверстия и затем нарезаю резьбу по месту. Далее, кладете панель на ровную поверхность и крепите её, берете самую крупную шкурку (№20), берете толстый металлический брусок (для веса - у меня алюминиевый 10х15 см и толщиной 5см и ровный снизу, чтобы он по ширине перекрывал ширину панели) оборачиваете шкурку вокруг бруска и полив керосином заготовку начинаете тереть ей вдоль - строго параллельно длинной стороне. Не надо юзать шкурку туда сюда - одно ровное длинное движение слева направо, подняли брусок перенесли и снова слева направо. Если алюминий - то снимается прям длинная стружка, если нержавейка, то рисунок помельче и шкурка быстрее истирается. Керосин обязательно, иначе шкурка залипнет вся. Смотрите чтобы не было дефектов, важно шкурку тянуть с самого начала и до полного схода шкурки с панели. Алюминий очень мягкий, поэтому после обработки надо с особой осторожность обращаться, т.к. малейшую поперечную царапину даже от ногтя, сразу видно. Затем несу на лазерную гравировку и затем отдаю на металлопорошковую окраску с запеканием лакового покрытия. Но обратную сторону предварительно заклеиваю термоскотчем, т.к. мне не нужно покрытие лаком. После запекания видна "апельсиновая корка", поэтому мелкой наждачкой на мокрую её убираю, затем шлифую и полирую (автополироль для лака) до полной гладкости и прозрачности. Вуаля... с первого раза навряд ли получится... Цвет алюминия после лака получается белый, а вот цвет нержавейки получился такой "светлый графит", но тоже приятный. На фото алюминиевая передняя панель до покрытия лаком.
-
Выходная мощность ниже будет. И спектр гармоник изменится, характер звучания. Анатолий Иосифович Манаков, можно поискать инфу, выкладывал, для 6С4С в однотакте, таблицу зависимости уровня 2 и 3 гармоники от сопротивления нагрузки. В общем, попробуйте, может понравится, ничего не сгорит.
-
Здравствуйте Вопрос к специалистам. Планировал использовать РР на 6с4с с нагрузкой 8ом,но так сложилось,что перешел на другую акустику с сопртивлением 15ом.Как многие знают у ТВЗ 1-6 отводов у вторичке нет.(если не считать обмотку ОС). При коэффициенте трансформации ТВЗ грубо 20 (для одного плеча) имею Ra около 6Ком+. Насколько это критично увеличение нагрузки до текущего значения. при Ua 250Вольт и Ia 50ма.Как я понимаю снижение мощности и искажений? Какова оптимальная нагрузка при таком электропитании? Понимаю,что в справочнике 2,5ком,но все же.
-
Разъёмы Тесла, типа DIN5, оригинальные, демонтаж с тесловского усилителя, состояние приличное: По 180р.. По РФ почтой или СДЕКом отправлю.
-
-
Forum Statistics
-
Total Topics10.5k
-
Total Posts113.3k
-

Recommended Posts
Join the conversation
You can post now and register later. If you have an account, sign in now to post with your account.
Note: Your post will require moderator approval before it will be visible.