-
Posts
821 -
Joined
-
Last visited
-
Days Won
1
Content Type
Profiles
Forums
Events
Everything posted by RedStar
-
6п18п много интереснее по звучанию, чем 6п14п или подобные.
-
Метод двухточечного заземления (Susumu Sakuma)
RedStar replied to Ollleg's topic in Help for beginners
Использую похожий принцип. Только делаю "скобы", предварительно просверливаю места для выступов скоб. Если крепление в дереве. Если основание - металл, то ставятся стойки и между ними протягивается шинка. И никаких "звездочек". Возле каждого каскада такая скоба. Соединяются проводами между собой возле входных гнезд. Довольно удобно и никаких "паразитов". Примеры: На основе усилителя с ГУ50: Скобы: -
Мало возможны отклонения АЧХ при разном типе конденсаторов, вот от емкости, - да. Скорее всего разница будет только на "слух", с мельчайшими подробностями и нюансами. Многократно это рассматривалось на разных площадках. Возможно все кроется в типе обкладок самих "кондов", и не более. ИМХО.
-
Думал, но не стал так делать. Спереди планируется рамка с тканью. Пока нет, и скорее вряд ли. Мне на ух идеально, осталось недостающие конденсаторы поставить. Может потом измерю. Схоже с колонками INFINITY SM-125, что опять недавно слушал. Потому и переднюю панель сделал вровень.
-
Болгарка с полировочным кругом и полиуретановый лак помогут.
-
Увы, какой то китайский производитель. По наклейке ничего нет. Главное, катушка там стандарт 25,4 мм. Да и стоили 2 рубля пара. На Али полно подобных.
-
Вот небольшое видео на фотик. немного "подгуживает", да и качество фотика... Сказывается нехватка пары конденсаторов в фильтре. В общем, картина складывается весьма положительна. Доволен работой. Источник - мой усилитель "Монте Кристо"музыка из компа. https://drive.google.com/file/d/1JZjnlmuX_heOu3sSYc2XM58zSc325nnl/view?usp=sharing
-
Да, Селешн показал себя в ящике Фи приличное звучание. В открытом виде показался достаточно "крикливым". Думал его поставить в щит. Но для щита, с его параметрами, явно будет хуже, чем есть в данном виде. Эта троица сейчас радует и ублажает мои уши, очень гармонично сочетаются, при прослушивании на данный момент. Не зря долго выбирал. Хотя выбор ВЧ твиттеров был большой. Взял шелк и не прогадал. И по сумме все обошлось не дешево. Дины, корпус, трубы, поролон, клей Тайдбонб, струбцины..... Всё нравится!
-
Давно начал этот проект АС. Все стопорилось в выборе динамиков. Решил сделать именно з-х полосную. Просто так понравилось. Выбор пал на эти динамики (фото). Корпус имеет размеры: 280х300х390 из ламинированной ДСП 16мм цветом "Венге". Размер обусловлен пока моими соображениями, на основе многих ранних опытов. Внутри расположен двухслойный поролон 20 мм толщиной возле каждой стенки. (брал в Леруа...) Трубы ФИ диаметром 76 мм и длиной 105 мм. Фильтр собирал по этой схеме: (в скинре программы крайняя справа внизу) Катушки намотаны мною. Пока тестирую на макетке фильтра. Потом сделаю аккуратнее, после проверки и отслушивания. Правда нехватает конденсаторов по 10 мкф 2 шт. Идут почтой. Первое впечатление отличной собранности звучания в едином. Все мелкие детали хорошо прослушиваются. На моем "Монте Кристо" -великолепно. Пока процесс подстройки. Потом выложу видео, если получится хорошо записать.
-
Вы прям "зациклены" на прямонакальных триодах Меряетесь на наличие их. Нет их и не было. А купить их, для красивых макетов, не позволяет состояние.
-
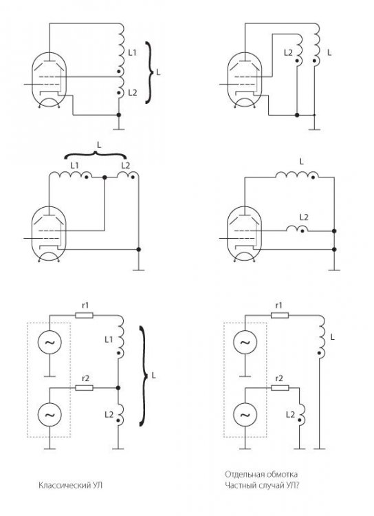
В УЛ тоже ОС. Но это не одно и тоже с (VL-) В остальных - верно. Но это не меняет положение отдельной синфазной обмотки, в отличии от противофазной. о ней не сейчас речь.
-
Пройдусь по пунктам. 1. Гармоники. В УЛ , по среднему, выходят около 0,8-1,5 %. С отдельной синфазной обмоткой (VL-) - не превышает 0,6-1,0%. 2, Некоторым лампам к экранной сетке невозможно применить анодное питание. Здесь, (VL-)и (VL+) задача облегчается. 3. По поводу приобретения характеристик триодного включения. Если разобраться, то будет очевидным факт абсолютного неизменения ВАХ лампы. 4. Получаемая выходная мощность каскада при (VL-)практически неизменна с УЛ. Однако в (VL+) она значительно вырастает, то есть, ее можно применить в гитарных усилителях. Там как раз присутствует уже небольшое увеличение гармоник в отличии от УЛ. 5. Замечено неоднократно, что ток ЭС в УЛ значительно увеличивается, примерно на 80% при увеличении выходной мощности каскада. Примерно с 5 мА в покое до 30 мА. В (VL-) этот ток - до 30%. То есть с 3-5 мА в покое до 6-7 мА.
-
Может я надоел на многих площадках темой про отдельную экранную обмотку. Но от нее отойти не могу, так как "зацепило". Ее использование дает многие преимущества для пентодов (тетродов). 1. Уменьшаются гармоники. 2. Можно использовать меньшее напряжение питания ЭС. 3. Лампа НЕ приобретает характеристики триода. 4. Выходная мощность получается от способа подключения обмотки. 5. Значительно уменьшается потребляемый ток экранной сетки. Если готовы обсудить данное, то расскажу подробнее, что имею в наработках. Почему отдельную обмотку считают частным случаем УЛ? Судя по получаемым данным, ничего общего у них нет. Ведь нигде не найти описание работ Хафлера и Моерса. как ни старался по фиг.1. Ибо надеюсь полностью рассчитать эти варианты. Мои рассмотренные варианты с добавленной от меня классификацией VL- иVL+ () катодную обмотку пока в расчет не берем!): И,добавлю.
-
Почему -1 дБ?
- 24 replies
-
- 24 replies
-
Весьма приличные результаты получаю от МКТ 1:0,5-0,5 на лампе 6Э5п. Мотается:четырьмя проводами - первичка, экранная обмотка (посмотрена у Локи) и вторички. Лампа для мкт в классе А. Вот пример для СЕ усилителя с большой амплитудой раскачки с применением КО: Это пример одного проекта для 6с4с.
- 24 replies
-
Хорошо! Только как закажете, по количеству витков. Все зависит от выбранной индукции.
-
Нормальные эти китайские резисторы!. Чего их хаять?
